Fermi's Golden Rule

DFT,  Math 

References

Ref: http://staff.ustc.edu.cn/~yuanzs/teaching/Fermi-Golden-Rule-No-II.pdf

Previosly, we have looked at the quantum TD-LRT, now let us put that into action by consider an perturbation that has a oscillatory time-dependence (typical of interaction with radiation) which can be written in the form of:

V(t)=Veiωt+VeiωtV(t) = V e^{-i\omega t} + V^\dagger e^{i\omega t}

This form explicitly enforces the perturbation to be hermitian.

Then the relevant transition matrix element is:

Vfi(t)=fV(t)ieiωt+fV(t)ieiωtV_{fi}(t) = \braket{f|V(t)|i}e^{-i\omega t} + \braket{f|V^\dagger(t)|i} e^{i\omega t}

Eq. 8 in :link:quantum TD-LRT becomes Eq. 8 in quantum TD-LRT becomes

cf(t)=cf(t)(1)=Vfii[0tδtei(ωfiω)t+0tδtei(ωfi+ω)t]=Vfiiei(ωfiω)t1i(ωfiω)+Vfiiei(ωfi+ω)t1i(ωfi+ω)\begin{aligned} {c}_f(t) = {c}_f(t)^{(1)} &= \frac{V_{fi}}{i\hbar} \left[ \int_{0}^t \delta t' e^{i(\omega_{fi}-\omega)t'} + \int_{0}^t\delta t' e^{i(\omega_{fi}+\omega)t'} \right ]\\ &=\frac{V_{fi}}{i\hbar} \frac{e^{i(\omega_{fi}-\omega)t}-1}{i(\omega_{fi}-\omega)} + \frac{V_{fi}}{i\hbar} \frac{e^{i(\omega_{fi}+\omega)t}-1}{i(\omega_{fi}+\omega)} \end{aligned}

Here, let’s make an assumption that the final state lives higher in energy than the initial state (ie.e., $\omega_f > \omega_i$), hence $\omega$ is close to $\omega_{fi}$ (which is called the Bohr angular frequency of $\ket{f}$ and $\ket{i}$). In this case, we are effectively considering an absorption process where the perturbation energy is being absorbed. Because of this we can safely ignore the second term which only has big contribution when we are studying stimulated emission process (i.e., final state has lower energy than the initial state).

cf(t)=cf(t)(1)=Vfiiei(ωfiω)t1i(ωfiω)=Vfiiei(ωfiω)t/2(ei(ωfiω)t/2ei(ωfiω)t/2)i(ωfiω)=Vfiiei(ωfiω)t/2(2isin(ωfiωt2))i(ωfiω)=Vfiiei(ωfiω)t/2sin((ωfiω)t2)(ωfiω)/2\begin{aligned} {c}_f(t) = {c}_f(t)^{(1)}&= \frac{V_{fi}}{i\hbar} \frac{e^{i(\omega_{fi}-\omega)t}-1}{i(\omega_{fi}-\omega)} \\ &= \frac{V_{fi}}{i\hbar} \frac{e^{i(\omega_{fi}-\omega)t/2}(e^{i(\omega_{fi}-\omega)t/2}-e^{-i(\omega_{fi}-\omega)t/2})}{i(\omega_{fi}-\omega)}\\ &= \frac{V_{fi}}{i\hbar} \frac{e^{i(\omega_{fi}-\omega)t/2}(2i\sin(\frac{\omega_{fi}-\omega t}{2}))}{i(\omega_{fi}-\omega)}\\ &= \frac{V_{fi}}{i\hbar} \frac{e^{i(\omega_{fi}-\omega)t/2}\sin(\frac{(\omega_{fi}-\omega) t}{2})}{(\omega_{fi}-\omega)/2}\\ \end{aligned}

The corresponding transition probability is

Pif(t)=cf(t)(1)2=Vfi22[sin((ωfiω)t2)(ωfiω)/2]2P_{i\to f}(t) = |{c}_f(t)^{(1)}|^2 = \frac{|V_{fi}|^2}{\hbar^2} \left[\frac{\sin(\frac{(\omega_{fi}-\omega) t}{2})}{(\omega_{fi}-\omega)/2}\right]^2

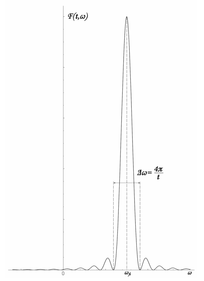
Nascent Dirac delta function

The equation $$ F(\omega_{fi}-\omega,t)=\left[\frac{\sin(\frac{(\omega_{fi}-\omega) t}{2})}{(\omega_{fi}-\omega)/2}\right]^2 $$ peaks at $\omega_{fi}$ with a width of $\Delta \omega$, where $\Delta \omega \approx \frac{4pi}{t}$. We see that as $t \to \infty$, this becomes a delta function. However, this function has a different normalization comparing to a delta function: $$ \int \left[\frac{\sin(\frac{(\omega_{fi}-\omega) t}{2})}{(\omega_{fi}-\omega)/2}\right]^2 \hbar d \omega = \hbar (\frac{2}{t}) t^2 \int \frac{\sin^2(x)}{x^2} d x =2 \pi \hbar t $$

Converting using Nascent Dirac delta function, we get

Pif(t,ω)=cf(t)(1)2=Vfi222πtδ(ωfiω)=2πVfi2tδ(ωfiω)P_{i\to f}(t,\omega) = |{c}_f(t)^{(1)}|^2 = \frac{|V_{fi}|^2}{\hbar^2} 2 \pi \hbar t \delta(\omega_{fi}-\omega) = \frac{2 \pi}{\hbar} |V_{fi}|^2 t \delta(\omega_{fi}-\omega)

And the transition rate (probability per unit time) is

Wif=δPif(t,ω)δt=2πVfi2δ(ωfωiω)W_{i\to f} = \frac{\delta P_{i\to f}(t,\omega)}{\delta t}= \frac{2 \pi}{\hbar} |V_{fi}|^2 \delta(\omega_{f} - \omega_i-\omega)

Which is the Fermi’s Golden Rule.

Phase of the perturbation

Since here we are integrating from $0$ to $t$, we can imagine that if we switch the perturbation from $\cos$ vs $\sin$, we should get a different result. Let’s now show how this will actually not affect the final conclusion.

Recalling that the resonant contribution to the amplitude ${c}_f(t)$ is:

cf(t)=0tei(ωfiω)t=ei(ωfiω)t1i(ωfiω){c}_f(t) = \int_0^te^{i(\omega_{fi}-\omega) t’} =\frac{e^{i(\omega_{fi}-\omega) t} − 1}{i(\omega_{fi}-\omega)}

The transition probability is:

Pif(t)=cf(t)2[sin2((ωfiω)t/2)(ωfiω)/2]2.P_{i\to f}(t) = |{c}_f(t)|^2 \propto \left [\frac{\sin^2((\omega_{fi}-\omega) t/2)}{(\omega_{fi}-\omega)/2}\right]^2.

But what happens if we switch from the cosine perturbation to a sine one? Remembering that:

sin(ωt)=12i(eiωteiωt)cos(ωt)=12(eiωt+eiωt)\begin{aligned} \sin(\omega t) = \frac{1}{2i}(e^{i\omega t} − e^{-i\omega t})\\ \cos(\omega t) = \frac{1}{2} (e^{i\omega t} + e^{-i\omega t}) \end{aligned}

so the only difference caused by this switching is a $1/i$ factor and a sign switch.

Still only taking the resonance term $e^{-i\omega t}$, the amplitude in the $\sin$ case would be come

cf(t)sin=icf(t)cosi0tei(ωfiω)tdt=0tei(ωfiω)t+π/2dt{c}_f(t)^{\sin} = i {c}_f(t)^{\cos} \propto i \int_0^t e^{i(\omega_{fi}-\omega)t'} dt' = \int_0^t e^{i(\omega_{fi}-\omega)t'+\pi/2} dt'

Note: Identity

$$ i e^{i(\omega_{fi}-\omega)t'} = e^{i\left[ (\omega_{fi}-\omega)t'+\pi/2\right]} $$

hence if we switch to from $\cos$ to $\sin$, after taking the mod square of ${c}_f(t)$, we get

Psin(t)=4sin2[(Ωtπ)/2]/Ω2.P_{\sin}(t) = 4 \sin^2[(\Omega t − \pi)/2]/\Omega^2.

Comparing to

Pcos(t)=4sin2((Ωt)/2)/Ω2,P_{\cos}(t) = 4 \sin^2((\Omega t)/2)/\Omega^2,

we see that they differ for finite $t$. But in the long‑time rate limit (i.e., $t \to \infty$):

δPsin(t)δt2πδ(Ω)δPcos(t)δt2πδ(Ω)\frac{\delta P_{\sin}(t)}{\delta t} \to 2\pi \delta(\Omega)\\ \frac{\delta P_{\cos}(t)}{\delta t} \to 2\pi \delta(\Omega)

because shifting the phase of $\Omega t$ inside the sine does not change the long‑time $\delta$-function limit.

So although amplitudes differ and finite‑time probabilities differ, the rate is identical.

The phase of the perturbation ($\sin$ vs $\cos$) matters to the amplitude ${c}_f(t)$ because we turn on the perturbation at $t_0=0$ so it is a non-adiabatic perturbation, as we integrate the amplitude when from $0$ to $t$. If the perturbation is turned on adiabatically from the distant past, we integrate form $\infty$ to $t$ and this phase gets canceled directly when we calculate the transition probability (mode square of the $c$ coefficients), even before we push $t$ to $\infty$.

State decay (phenomenological)

If a state has finite lifetime $\tau$, meaning its survival amplitude decays:

ψ(t)=eiEt/eΓt/2ϕ,Γ=/τ\ket{\psi(t)} = e^{-iEt/\hbar} e^{-\Gamma t/2\hbar} \ket{\phi}, \quad \Gamma=\hbar/\tau

This corresponds to having a complex energy

EEiΓ2E \to E-i\frac{\Gamma\hbar}{2}

A state with a complex energy is not a stationary state — therefore it is not an eigenstate of the Hamiltonian, and does not have exact energy.

In standard Fermi’s Golden Rule,

cf(t)δ(ωfωiω){c}_f(t) \propto \delta(\omega_f - \omega_i -\omega)

where we have strict energy conservation condition from the delta function.

But with finite lifetimes, $E_i$ is replaced by

EiiΓi/2.E_i - i\Gamma_i\hbar/2.

and the ${c}_f(t)$becomes:

cf(t)0tei(EiiΓi/2)/teiEf/teiωtdt=0teiωfiteΓit/2eiωtdt=ei(ωfiω)tΓit/21i(ωfiω)Γi/2\begin{aligned} {c}_f(t) &\propto \int_0^t e^{-i(E_i-i\Gamma_i\hbar/2)/\hbar t'} e^{iE_f/\hbar t'} e^{-i\omega t'} dt' \\ &= \int_0^te^{i\omega_{fi} t'} e^{-\Gamma_i t'/2} e^{-i\omega t'} dt'\\ &= \frac{e^{i(\omega_{fi}-\omega)t-\Gamma_i t/2}-1}{i(\omega_{fi}-\omega)-\Gamma_i/2} \end{aligned}

Taking $t\to\infty$, $e^{i(\omega_{fi}-\omega)t}e^{-\Gamma_i t/2}$ vanishes as $e^{-\Gamma_i t/2} \to 0$, and we are left with

cf()1i(ωfiω)Γi/2\begin{aligned} {c}_f(\infty) \propto \frac{-1}{i(\omega_{fi}-\omega)-\Gamma_i/2 } \end{aligned}

and the transition probability is proportional to a lorentzian:

Pif(t)=cf(t)2Γi/2(ωfiω)2+(Γi2)2=L(ω;ωfi,Γ/2)P_{i\to f}(t) = |{c}_f(t)|^2 \propto \frac{\Gamma_i/2}{(\omega_{fi}-\omega)^2 + \left( \frac{\Gamma_i}{2}\right)^2 } = L(\omega;\omega_{fi},\Gamma/2)

You can test and see that the Lorentzian becoms a delta function as $\Gamma_i$ goes to zero.

This expresses exactly what happens physically:

  • Due to the finite life time of states, transitions don’t require perfect energy match.
  • They occur most strongly near resonance, but with a width determined by the sum of lifetimes.

Continuum

Assuming that the final state lives in a continuum of states, we need to account for all states the system can jump into using

Pi(t,ω)=Pif(t,ω)ρf(E)dE=Vfi22[sin((ωfiω)t2)(ωfiω)/2]2ρf(E)dE=2π2Vfi2δ(ωfiω)tρf(E)dE=2π2Vfi2δ(ωfiω)ρf(ω)tdω=2πVfi2ρf(ωfi)t\begin{aligned} P_{i}(t,\omega) &= \int P_{i\to f}(t,\omega) \rho_f(E) dE\\ &= \int \frac{|V_{fi}|^2}{\hbar^2} \left[\frac{\sin(\frac{(\omega_{fi}-\omega) t}{2})}{(\omega_{fi}-\omega)/2}\right]^2 \rho_f(E) dE\\ &= \int \frac{2\pi}{\hbar^2} |V_{fi}|^2 \delta(\omega_{fi}-\omega) t \rho_f(E) dE\\ &= \int \frac{2\pi}{\hbar^2} |V_{fi}|^2 \delta(\omega_{fi}-\omega) \rho_f(\hbar \omega) t \hbar d\omega\\ &= \frac{2\pi}{\hbar} |V_{fi}|^2 \rho_f(\hbar \omega_{fi}) t \end{aligned}

And the transition rate (unit time transition probability) is:

W=δPi(t,ω)δt=2πVfi2ρf(Efi)W =\frac{\delta P_{i}(t,\omega)}{\delta t} = \frac{2\pi}{\hbar}|V_{fi}|^2 \rho_f(E_{fi})

Which is the Fermi’s Golden Rule in continuum states.



Author | Chengcheng Xiao

Currently a postdoctoral research associate at Imperial College London. Predicting electron behaviour since 2016.